质量伦理与企业创新绩效的关系研究
时间:2020-03-07
来源:www.jbevzenko.com
本文是一篇企业伦理论文,通过对所收集和筛选得到的有效样本数据,进行更深一步的分析和实证的研究,本文所提到出的7项研究假设全部得到了实证的支撑,研究的主要结论如下:(1)一个企业的质量伦理水平程度,影响着这个企业的创新绩效的水平。研究说明,质量伦理可以直接和间接影企业创新绩效。间接影响:通过中介变量知识管理和组织创新氛围从而影响企业的创新绩效,而且组织创新氛围的影响程度大于知识管理的影响程度。在调查和研究中,我们能够知道,具备更好的质量伦理的企业则更可能或得到大众的认可,并在严峻的市场竞争环境中取得相对的优势地位。这时,质量伦理与企业创新绩效间是正相关关系。再此基础上,首先确定企业质量伦理建设的目标,然后要求所有人建立质量第一的理念,按照较高水平的伦理基本原则和道德来规范自己的行为,自觉承担社会责任,树立良好的企业形象,从而获取长期的经济效益。
1绪论
1.1选题背景与研究意义
1.1.1选题背景
自改革开放40年以来,我国取得了举世瞩目的成果,中国的经济又快又好的发展,“中国制造”已在全球扎根生长。取得这些成果都和质量的支撑有很大的关系。市场竞争越来越严峻,消费者对质量的要求越来越高,一个企业如果想达到顾客满意度并取得竞争优势,就要注重产品和服务的质量,注重质量管理。不仅要存战略上加强质量的管理,更要注重伦理上的质量管理。质量伦理的建立对一个企业来说,不仅可以鞭策员工们不断注重质量,更可以为企业内部的发展提供先进的指导方向,促进企业健康快速的发展。
质量重要性明显提升。“质量”频频出现在中国高层领导人的讲话、报告、文件中,这绝对不是孤立的偶然现象。着力提高发展的质量和效率,我们将把质量强国的战略放在更加突出的位置,并实施质量改进行动。加强综合质量监督,全面提高质量水平,加快培育国际竞争新优势,促进中国制造业向中国转型。中国的速度已经转变为中国的质量,中国的产品已经转变为中国的品牌。
随着我国及现代经济的飞速发展,大众对于质量的关注度越来越高,质量伦理的相关概念也渐渐进入人们的视野。质量的高低不论是对于我国特色社会主义制度的建立,还是对于企业立足脚下的长远发展,在提高竞争实力的方面,都有着至关重要的作用。在全球经济一体化的发展趋势下,质量是每一个发展中国家实现经济现代化的根本保证。企业质量的重要性随着大环境的市场化程度的提高而上升。在现代化市场经济下,企业之间的合作与竞争相互博弈却又彼此依存。而这其中,为了实现规避不当竞争,维持市场环境有序健康发展的目的,保证质量是提高核心竞争力的关键。
..............................
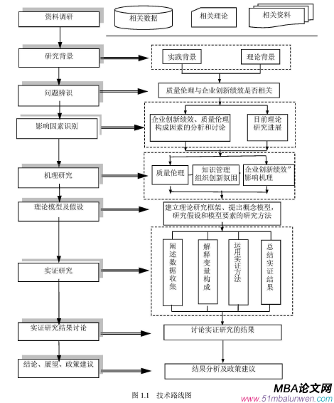
1.2研究内容和技术路线
1.2.1研究内容
本文的研究核心是:质量伦理与企业创新绩效的关系研究,本文研究的主要内容有以下几点:
(1)质量伦理的理论研究本文以或内外研宄的文献为依据,对其进行梳理和分析,得出质量伦理的基本概念的界定和相关理论分析。
(2)质量伦理、知识管理和组织创新氛围以及企业创新绩效的度量此研究部分开发和设计了质量伦理、知识管理和组织创新氛围以及企业创新绩效的变量,从而确定了本文需要研究的几个变量:质量伦理、知识管理、组织创新氛围和企业创新绩效的主要测量的维度。
(3)质量伦理与企业创新绩效的关系的实证检验与研究通过对文献的梳理和分析,本文对质量伦理与企业创新绩效的关系建立了概念模型。本文通过引入知识管理和组织创新氛围这两个中介变量进行研究,提出了7个相关的研究假设。通过问卷调查获得有效的样本数据,再利用spss24.0分析软件对数据进行可靠性检验,确认数据的有效性和可靠性。最后,运用AMOS24.0软件对本文前面提到的理论模型进行建设结构方程模型,并对7个假设进行检验和模型效应分析。
(4)企业提高创新绩效的质量伦理政策建议此章节阐明了质量伦理建设的必要性和重要性,结合企业的实际情况,给出提高企业创新绩效的质量伦理建设的建议。
............................
2文献综述
2.1质量伦理
2.1.1质量伦理的基本概念
可以说,质量是一种伦理基因,质量与伦理之间有一层深厚的关系,这个关系是具有一定生态价值的。这种价值的实现是需要一种生态的理念支撑的,而这恰恰就是质量伦理所倡导的环境伦理。由于质量伦理有时比较抽象,所以很多学者都通过“道”或者“义”将它体现出来,让质量伦理变成一种具体的、现实的、可行的规范。任何事物都是相互矛盾相互统一的,质量伦理亦是如此,它不仅是理论与实践的统一,也是一种抽象与现实的统一,更它有形与无形的统一,是一种深入灵魂的价值观念。质量伦理所倡导的环境伦理是一种绿色生态的伦理,他要求企业在经济发展过程中应该树立绿色的观念和创新的观念。因此,质量伦理的本质也可以称作为一种积极向上的伦理价值观,他能够指导企业更好的发展。
经济伦理价值也是质量伦理的一种体现。这种体现不仅在我国本土民族企业经济生产方面有巨大的影响,甚至许多外企也十分注重这种伦理价值。在我国,企业的经营者的素质尤为重要,一个企业的经理能够激发自身的内在动力与活力,才能更好引导整个企业员工的发展向上。从另一个角度来看,质量伦理可以作为体现我国企业的民族素质的重要因素,它代表我国经济的竞争在世界范围内都占据重要的地位。同时,质量伦理也可以被看作是一条准则,这个准则可以规范市场经济。我国有明确的质量法,它为我国高质量发展以及质量管理的完善具有重要的保障意义,对企业的规范也有一定的约束力。
柴为民学者认为,“人”的质量是以人为主体,质量为对象。质量的“理”也必须将人作为主体。质量伦理是主观与客观的统一:“伦”是客观,“理”是主观。
张长元学者认为,质量伦理就是一种质量道德,它不仅是企业伦理的重要组成部分,也是企业伦理责任集中的体现。质量伦理不但是改善社会质量关系的伦理方法,也是完善企业与国家质量关系的道德规范综合。
..........................
2.2知识管理
2.2.1知识管理的基本概念
学者杨俊祥、和金生为的知识管理是在企业管理方面进行的,他们认为知识管理是一个企业在多变和复杂的环境下,根据企业自身的实际情况,对知识进行甄别、获取、创造、应用、分享五个过程的条理化梳理的管理活动,他们强调到“人”、“信息资源”和“技术手段”是在知识管理过程中尤为重要的的三个因素。
2.2.1知识管理的度量
本论文将已有的学者对知识管理的维度测量进行梳理,主要表现如下表2.1:
..........................
3模型构建与研究假设........................18
3.1结构方程模型........................18
3.2质量伦理与企业创新绩效的影响机理分析........................18
4数据采集与分析....................23
4.1问卷的设计、发放与回收....................23
4.1.1调研对象的选择....................23
4.1.2问卷的设计....................23
5实证研究...................40
5.1运用AMOS建立结构方程模型...................40
5.2模型识别...................40
5实证研究
5.1运用AMOS建立结构方程模型
基于前面第三章对质量伦理、知识管理、组织创新氛围及企业创新绩效之间关系的理论分析和构建概念模型,第四章分析和检验了回收的样本数据的可靠性和有效性并使用AMOS24.0构建质量伦理、知识管理、组织创新氛围和企业创新绩效相互关系的结构方程模型,如图5.1所示:
6结论与展望
6.1研究结论
通过对所收集和筛选得到的有效样本数据,进行更深一步的分析和实证的研究,本文所提到出的7项研究假设全部得到了实证的支撑,研究的主要结论如下:
(1)一个企业的质量伦理水平程度,影响着这个企业的创新绩效的水平。研究说明,质量伦理可以直接和间接影企业创新绩效。间接影响:通过中介变量知识管理和组织创新氛围从而影响企业的创新绩效,而且组织创新氛围的影响程度大于知识管理的影响程度。在调查和研究中,我们能够知道,具备更好的质量伦理的企业则更可能或得到大众的认可,并在严峻的市场竞争环境中取得相对的优势地位。这时,质量伦理与企业创新绩效间是正相关关系。再此基础上,首先确定企业质量伦理建设的目标,然后要求所有人建立质量第一的理念,按照较高水平的伦理基本原则和道德来规范自己的行为,自觉承担社会责任,树立良好的企业形象,从而获取长期的经济效益。
(2)企业质量伦理的构建能够加强企业的知识管理的完善。质量伦理是一个公司在追逐利益的时候,遇到一些质量问题,能够去遵循的伦理基本原则和道德规范,是对该公司经济行为的一种软管束。一个企业的质量的方案的实行和质量管理的过程的完善,都和质量伦理规范的导向机制与约束机制的支撑有着巨大的关系。因此,质量伦理可以对企业的内部知识管理产生积极效应。企业知识管理能够很好的实施离不开公司质量伦理建设的有效推广。所以,我们需要不断加强企业的知识管理的完善,从而引导企业积极健康的发展。
(3)企业的质量伦理程度越高,这个企业的组织创新氛围就越浓厚。组织创新氛围拥有伦理的支撑,优质的质量伦理建设能够促进一个企业营造更好的组织创新氛围。加大企业质量伦理的建设,有利于公司所有的员工树立的一种较强质量责任感和道德感,他们会自发的互相交流,不断创新,不断追求卓越的质量,为社会不断地提供优质的产品和服务,满足公众地需求,促使企业打造品牌优势,增强核心竞争力。
参考文献(略)
1绪论
1.1选题背景与研究意义
1.1.1选题背景
自改革开放40年以来,我国取得了举世瞩目的成果,中国的经济又快又好的发展,“中国制造”已在全球扎根生长。取得这些成果都和质量的支撑有很大的关系。市场竞争越来越严峻,消费者对质量的要求越来越高,一个企业如果想达到顾客满意度并取得竞争优势,就要注重产品和服务的质量,注重质量管理。不仅要存战略上加强质量的管理,更要注重伦理上的质量管理。质量伦理的建立对一个企业来说,不仅可以鞭策员工们不断注重质量,更可以为企业内部的发展提供先进的指导方向,促进企业健康快速的发展。
质量重要性明显提升。“质量”频频出现在中国高层领导人的讲话、报告、文件中,这绝对不是孤立的偶然现象。着力提高发展的质量和效率,我们将把质量强国的战略放在更加突出的位置,并实施质量改进行动。加强综合质量监督,全面提高质量水平,加快培育国际竞争新优势,促进中国制造业向中国转型。中国的速度已经转变为中国的质量,中国的产品已经转变为中国的品牌。
随着我国及现代经济的飞速发展,大众对于质量的关注度越来越高,质量伦理的相关概念也渐渐进入人们的视野。质量的高低不论是对于我国特色社会主义制度的建立,还是对于企业立足脚下的长远发展,在提高竞争实力的方面,都有着至关重要的作用。在全球经济一体化的发展趋势下,质量是每一个发展中国家实现经济现代化的根本保证。企业质量的重要性随着大环境的市场化程度的提高而上升。在现代化市场经济下,企业之间的合作与竞争相互博弈却又彼此依存。而这其中,为了实现规避不当竞争,维持市场环境有序健康发展的目的,保证质量是提高核心竞争力的关键。
..............................
1.2研究内容和技术路线
1.2.1研究内容
本文的研究核心是:质量伦理与企业创新绩效的关系研究,本文研究的主要内容有以下几点:
(1)质量伦理的理论研究本文以或内外研宄的文献为依据,对其进行梳理和分析,得出质量伦理的基本概念的界定和相关理论分析。
(2)质量伦理、知识管理和组织创新氛围以及企业创新绩效的度量此研究部分开发和设计了质量伦理、知识管理和组织创新氛围以及企业创新绩效的变量,从而确定了本文需要研究的几个变量:质量伦理、知识管理、组织创新氛围和企业创新绩效的主要测量的维度。
(3)质量伦理与企业创新绩效的关系的实证检验与研究通过对文献的梳理和分析,本文对质量伦理与企业创新绩效的关系建立了概念模型。本文通过引入知识管理和组织创新氛围这两个中介变量进行研究,提出了7个相关的研究假设。通过问卷调查获得有效的样本数据,再利用spss24.0分析软件对数据进行可靠性检验,确认数据的有效性和可靠性。最后,运用AMOS24.0软件对本文前面提到的理论模型进行建设结构方程模型,并对7个假设进行检验和模型效应分析。
(4)企业提高创新绩效的质量伦理政策建议此章节阐明了质量伦理建设的必要性和重要性,结合企业的实际情况,给出提高企业创新绩效的质量伦理建设的建议。
............................
2文献综述
2.1质量伦理
2.1.1质量伦理的基本概念
可以说,质量是一种伦理基因,质量与伦理之间有一层深厚的关系,这个关系是具有一定生态价值的。这种价值的实现是需要一种生态的理念支撑的,而这恰恰就是质量伦理所倡导的环境伦理。由于质量伦理有时比较抽象,所以很多学者都通过“道”或者“义”将它体现出来,让质量伦理变成一种具体的、现实的、可行的规范。任何事物都是相互矛盾相互统一的,质量伦理亦是如此,它不仅是理论与实践的统一,也是一种抽象与现实的统一,更它有形与无形的统一,是一种深入灵魂的价值观念。质量伦理所倡导的环境伦理是一种绿色生态的伦理,他要求企业在经济发展过程中应该树立绿色的观念和创新的观念。因此,质量伦理的本质也可以称作为一种积极向上的伦理价值观,他能够指导企业更好的发展。
经济伦理价值也是质量伦理的一种体现。这种体现不仅在我国本土民族企业经济生产方面有巨大的影响,甚至许多外企也十分注重这种伦理价值。在我国,企业的经营者的素质尤为重要,一个企业的经理能够激发自身的内在动力与活力,才能更好引导整个企业员工的发展向上。从另一个角度来看,质量伦理可以作为体现我国企业的民族素质的重要因素,它代表我国经济的竞争在世界范围内都占据重要的地位。同时,质量伦理也可以被看作是一条准则,这个准则可以规范市场经济。我国有明确的质量法,它为我国高质量发展以及质量管理的完善具有重要的保障意义,对企业的规范也有一定的约束力。
柴为民学者认为,“人”的质量是以人为主体,质量为对象。质量的“理”也必须将人作为主体。质量伦理是主观与客观的统一:“伦”是客观,“理”是主观。
张长元学者认为,质量伦理就是一种质量道德,它不仅是企业伦理的重要组成部分,也是企业伦理责任集中的体现。质量伦理不但是改善社会质量关系的伦理方法,也是完善企业与国家质量关系的道德规范综合。
..........................
2.2知识管理
2.2.1知识管理的基本概念
学者杨俊祥、和金生为的知识管理是在企业管理方面进行的,他们认为知识管理是一个企业在多变和复杂的环境下,根据企业自身的实际情况,对知识进行甄别、获取、创造、应用、分享五个过程的条理化梳理的管理活动,他们强调到“人”、“信息资源”和“技术手段”是在知识管理过程中尤为重要的的三个因素。
2.2.1知识管理的度量
本论文将已有的学者对知识管理的维度测量进行梳理,主要表现如下表2.1:
..........................
3模型构建与研究假设........................18
3.1结构方程模型........................18
3.2质量伦理与企业创新绩效的影响机理分析........................18
4数据采集与分析....................23
4.1问卷的设计、发放与回收....................23
4.1.1调研对象的选择....................23
4.1.2问卷的设计....................23
5实证研究...................40
5.1运用AMOS建立结构方程模型...................40
5.2模型识别...................40
5实证研究
5.1运用AMOS建立结构方程模型
基于前面第三章对质量伦理、知识管理、组织创新氛围及企业创新绩效之间关系的理论分析和构建概念模型,第四章分析和检验了回收的样本数据的可靠性和有效性并使用AMOS24.0构建质量伦理、知识管理、组织创新氛围和企业创新绩效相互关系的结构方程模型,如图5.1所示:
6结论与展望
6.1研究结论
通过对所收集和筛选得到的有效样本数据,进行更深一步的分析和实证的研究,本文所提到出的7项研究假设全部得到了实证的支撑,研究的主要结论如下:
(1)一个企业的质量伦理水平程度,影响着这个企业的创新绩效的水平。研究说明,质量伦理可以直接和间接影企业创新绩效。间接影响:通过中介变量知识管理和组织创新氛围从而影响企业的创新绩效,而且组织创新氛围的影响程度大于知识管理的影响程度。在调查和研究中,我们能够知道,具备更好的质量伦理的企业则更可能或得到大众的认可,并在严峻的市场竞争环境中取得相对的优势地位。这时,质量伦理与企业创新绩效间是正相关关系。再此基础上,首先确定企业质量伦理建设的目标,然后要求所有人建立质量第一的理念,按照较高水平的伦理基本原则和道德来规范自己的行为,自觉承担社会责任,树立良好的企业形象,从而获取长期的经济效益。
(2)企业质量伦理的构建能够加强企业的知识管理的完善。质量伦理是一个公司在追逐利益的时候,遇到一些质量问题,能够去遵循的伦理基本原则和道德规范,是对该公司经济行为的一种软管束。一个企业的质量的方案的实行和质量管理的过程的完善,都和质量伦理规范的导向机制与约束机制的支撑有着巨大的关系。因此,质量伦理可以对企业的内部知识管理产生积极效应。企业知识管理能够很好的实施离不开公司质量伦理建设的有效推广。所以,我们需要不断加强企业的知识管理的完善,从而引导企业积极健康的发展。
(3)企业的质量伦理程度越高,这个企业的组织创新氛围就越浓厚。组织创新氛围拥有伦理的支撑,优质的质量伦理建设能够促进一个企业营造更好的组织创新氛围。加大企业质量伦理的建设,有利于公司所有的员工树立的一种较强质量责任感和道德感,他们会自发的互相交流,不断创新,不断追求卓越的质量,为社会不断地提供优质的产品和服务,满足公众地需求,促使企业打造品牌优势,增强核心竞争力。
参考文献(略)
相关阅读
暂无数据


